Rychloupínací pouta s převažujícími prostředky umožňujícími dvojí použití jako trénink a zadržovací zařízení
Aug 13, 2020
Rychlé vydáníželízkamající převažující prostředky umožňující dvojí použití jako cvičné a zadržovací zařízení
Abstraktní:
A želízkapro dvojí použití jako tréninkové zařízení s rychlým uvolňováním a skutečné zadržovací zařízení, které má třmen a obloukový rohatkový člen se zuby.želízkazahrnuje zajišťovací sestavu, umístěnou uvnitř třmenu, která má západku mající první konec otočně spojený s třmenem a druhý konec se zuby otočnými mezi zajištěnou polohou, ve které zuby západky zabírají se zuby západkového členu a nezajištěná poloha, ve které je druhý konec západky oddělen od západkového prvku. Druhý konec západky dále má svislé osazení pro záběr s přírubou klíče vloženého do uzamykací sestavy pro manipulaci s západkou mezi zajištěnou a nezajištěnou polohou při otáčení klíče. Zarážkový člen je umístěn nad západkou a je pohyblivý dovnitř a ven z kontaktu se západkou při záběru s klíčem, aby se zabránilo umístění západky do nezajištěné polohy, když je zarážkový člen v kontaktu se západkou. Je zahrnut první hřídel a knoflík, který poskytuje funkci rychlého uvolnění pro umístění západky do nezajištěné polohy, když dorazový člen není v kontaktu s západkou. Zahrnuta je druhá hřídel a knoflík, které poskytují jednoduchý způsob rychlého zapojení a odpojení dorazového prvku.
Některé doporučené položky pro vaši referenci :
https://www.senkencorp.com/search/handcuff.html
https://senken.en.alibaba.com/search/product?SearchText=handcuff
Pouta Video:
https://www.youtube.com/watch?v=59rcOB1g1ms
https://www.youtube.com/watch?v=tt1FHbiJ4R0
https://www.youtube.com/watch?v=WBOlplSF7ps
Popis
Tato přihláška je částečným pokračováním patentové přihlášky č. Č. 08 / 276,093 podané 15. července 1994, nyní US Pat. Č. 5 463 884 pro&„RYCHLÉ ZPRÁVYŽELÍZKAPŘEKONÁVAJÍCÍ PROSTŘEDKY PRO POVOLENÍ DUÁLNÍHO POUŽITÍ JAKO VÝCVIK A OMEZENÍ ZAŘÍZENÍ" Lansing S.Woo a Ronnie J. Frigulti, povoleno 3. dubna 1995.
1. Oblast vynálezu
Předkládaný vynález se týká oblasti osobních omezovacích zařízení, konkrétnějipoutatakového druhu, jaký obvykle používají policisté při plnění svých povinností.
2. Popis souvisejícího umění
Mezi policejními profesionály je dobře známo a snadno doloženo zdokumentovanými statistikami, že jedním z nejnebezpečnějších a nejzranitelnějších úkolů prováděných policisty je postuppoutapodezřelý.
Dnes však policisté 39 dostávají příliš málo správné praxepoutatechniky. Znalosti vpoutatechniky vyžadují pravidelné a důsledné cvičení a při absenci pravidelného cvičení se rychle ztrácí odbornost, stejně jako osobní důvěra v jednu taktiku'poutaschopnost.
Většina policistů je povinna pravidelně cvičit a kvalifikovat se svými služebními zbraněmi, ale jen velmi málo z nich je povinno pravidelně kontrolovat a cvičit správněpoutatechniky v rozsahu nezbytném pro rozvoj trvalé kompetence a odbornosti. Snad největším faktorem, který odrazuje od pravidelné praxe, je obtížnost odstraněnípoutajakmile jsou zajištěny. Je to z důvodu obratnosti požadované při manipulaci s klíčem k odemknutípouta. Umístěnípoutau podezřelého (nebo cvičného partnera) je poměrně přímočarý, protože postup je usnadněn použitím obvyklého západkového a rohatkového mechanismu, který umožňuje poutům být&„plácnutí na GG“; zápěstí podezřelého 39 bez použití klíče. Přesto, když mají být pouta odstraněna, musí důstojník držet ruku podezřelého 39 na místě, zasunout klíč do pouta se správným zarovnáním s klíčovou dírkou, otočit klíčem a zvednout západku s pružinou ráčnu a manipulujte s poutem, abyste otevřeli kauci. Kromě toho, když jsou použita pouta s dvojitým zajišťovacím mechanismem (např. US patent č. 4 574 600 vydaný společnosti Moffet) pro větší bezpečnost při zabránění tomu, aby podezřelý vybral zámek pouta, je zapotřebí další krok k prvnímu otočení klíče směr neotevření, aby se odblokoval mechanismus dvojitého zamykání.
Ve výcviku nastává problém, že při odstraňovánípoutaspíše než pomocí klíče, než procvičováním správných aplikačních technik. Během typického tréninku na pouta přibližně dvě třetiny až tři čtvrtiny tréninku stráví studenti odstraňováním pout, což ponechává příliš málo času na procvičování dalších technik pouta. Učitelé často instruují studenty, aby simulovali skutečný proces pouta, aby ušetřili čas na školení. Další nevýhodou je, že s takovým zpožděním ve skutečné praxi a použitím simulovaných technik se studenti s tréninkem rychle začnou nudit, a tak si snadno nevyvinou dovednosti potřebné pro bezpečné připoutání podezřelého.
V dosavadním stavu techniky byla dětská pouta, jako jsou ta, která jsou popsána v US Pat. 1 806 163 a 3 423 871 vydaných společnostem TJ Hoglund a CF Foley byly navrženy s mechanismem rychlého uvolnění, který usnadňuje otevírání pout dětmi. Tato pouta jsou však navržena k použití pouze jako hračky, protože je lze snadno otevřít nositelem bez použití klíče. Ačkoli by taková pouta mohla být myslitelně přizpůsobena pro účely výcviku, policie by je pro takové použití nemohla snadno přijmout, protože neobsahují stejný design a funkčnost jako ta, která se skutečně používají v terénu. Důstojník, který během tréninku cvičí s jiným typem pout, by neměl dostatečné dovednosti a jistotu v používání skutečných pout na ulici. Kromě toho by bylo také obtížné odůvodnit náklady na oddělení městské a státní policie za samostatné sady výcvikových pout, protože by mohly být použity pouze pro účely výcviku.
Podle toho by bylo výhodné poskytnout pouta takového typu, jaký běžně používají policisté, kteří mají pro účely výcviku mechanismus rychlého uvolnění a prostředky pro překonání mechanismu rychlého uvolnění tak, aby mohl být výcvikový pout převeden na zadržovací zařízení pro skutečné použití.
Dalším cílem výcviku v poutech je vytvořit u studentů zvyk, aby po připevnění pouta na podezřelého vždy zapojili dvojité zamykání pouta. Protože v současné době je student povinen použít konec klíče pouta nebo jiného předmětu k aktivaci tohoto dvojitého uzamykacího mechanismu během tréninku, studenti často zapomínají zapojit dvojitý uzamykací mechanismus úplně.
Podle toho by bylo výhodné poskytnout pouta typu, který policisté běžně používají, mající prostředky pro rychlé zapnutí / vypnutí dvojitého zámku pro účely výcviku a způsob, jak tyto prostředky odstranit, aby bylo možné cvičnou pouta převést na zadržovací zařízení pro skutečné použití.
Některá pouta doporučují položky pro vaši referenci :
https://www.senkencorp.com/search/handcuff.html
https://senken.en.alibaba.com/search/product?SearchText=handcuff
Pouta Video:
https://www.youtube.com/watch?v=59rcOB1g1ms
https://www.youtube.com/watch?v=tt1FHbiJ4R0
https://www.youtube.com/watch?v=WBOlplSF7ps
Úkolem předloženého vynálezu je proto vyvinout poutko s rychlým uvolněním, které má převažující prostředky pro umožnění dvojího použití jako cvičného a zadržovacího zařízení.
Dalším cílem předkládaného vynálezu je poskytnout pouta mající rychloupínací knoflíky namontované na opačných stranách třmenu pouta, přičemž knoflíky jsou připojeny k západce uzamykací sestavy pomocí rychloupínací hřídele pro uvolnění západky od ráčny a odemknutí pout po pohybu tlačítek.
Ještě dalším cílem předkládaného vynálezu je poskytnout poutko s rychlým uvolněním, jak je popsáno výše, mající dvojitý zajišťovací mechanismus pro připevnění západky k rohatce a zabránění odemknutí pouta pomocí rychloupínacích tlačítek pro umožnění použití pouta jako skutečné zadržovací zařízení.
Dalším cílem předkládaného vynálezu je poskytnout pouta mající dvojitý uzamykací mechanismus kromě rychloupínacího hřídele pro odemčení jak dvojitého uzamykacího mechanismu při otáčení hřídele, tak pouta při otáčení a posouvání hřídele , přičemž rychloupínací hřídel je odnímatelný od spojky k západce, aby se pouta přeměnila na skutečné zadržovací zařízení.
Dalším cílem předkládaného vynálezu je poskytnout pouta mající dvojitý zajišťovací hřídel spojený s dvojitým zajišťovacím mechanismem navíc k rychloupínacímu hřídeli pro odjištění pouta. Dvojitá zajišťovací hřídel zabírá a uvolňuje dvojitý zajišťovací mechanismus a je oddělitelná od jeho spojení s dvojitým zajišťovacím mechanismem, aby se pouta přeměnila na skutečné zadržovací zařízení.
Těchto a dalších cílů předkládaného vynálezu je dosaženo zajištěním pout s bočně namontovanými rychloupínacími tlačítky, která umožňují ruční odepnutí a odstranění pouta bez použití klíče. Vynález je primárně určen k použití při tréninku, protože významně zkracuje čas potřebný k odemknutí a odstranění pout během tréninku. Vynález však dále poskytuje dvojitý zajišťovací mechanismus, který nejen zablokuje západku na rohatce, ale také zamkne rychloupínací tlačítka na místě, takže pouta mohou být použity jako skutečné zadržovací zařízení policisty v terénu.
Kromě toho je v alternativním provedení předkládaného vynálezu pouta cvičného typu opatřena dvojitým zajišťovacím mechanismem, který lze také odemknout pomocí tlačítek pro rychlé uvolnění, aby se zajistil rychlejší a lepší výcvik v činnosti funkce dvojitého uzamčení, když je pouta se aplikuje na zápěstí praktikanta 39. Nicméně tato pouta cvičného typu mohou být přeměněna na skutečné zadržovací zařízení oddělením rychloupínacích tlačítek a hřídele od pouta tak, aby podezřelý nemohl pouta odemknout.
Kromě toho je v upřednostňovaném provedení předkládaného vynálezu pouta cvičného typu opatřena dvojitým zajišťovacím mechanismem, který je v záběru a odpojen pohybem dvojitého zajišťovacího hřídele a tlačítka, které jsou spojeny s dvojitým zajišťovacím mechanismem. Tato dvojitá zajišťovací hřídel značně zjednodušuje zapojení / odpojení dvojitého zajišťovacího mechanismu, a tak pomáhá u studentů vyvinout zvyk vždy zapínat dvojitý zajišťovací mechanismus poté, co je pouta zajištěna u podezřelého. Pouta jsou také opatřena rychloupínacími tlačítky připojenými k rychloupínacímu hřídeli, která slouží k odjištění pout při posunu hřídele.
Cíle, vlastnosti a výhody předkládaného vynálezu budou zřejmé z následujícího podrobného popisu, ve kterém:
OBR. 1 (A) je zjednodušený koncový pohled na pouta, zobrazující rovnoběžné boční desky třmenu, mající dva rychle uvolňující hřídele a k nim připojené knoflíky, rohatkový člen umístěný mezi bočními deskami a klíč používaný k uzamčení a odemknutí pouta.
OBR. 1 (B) je boční pohled na pouta podle předkládaného vynálezu, ukazující rohatkový člen připevněný uvnitř třmenu kromě povrchu boční desky třmenu, na kterém je znázorněna klíčová dírka, knoflík rychloupínacího hřídele a horizontální slot pro manipulaci s dvojitým zajišťovacím mechanismem.
OBR. 2 (A) je boční pohled na provedení pouta zobrazující západku v zajištěné poloze a dvojitý zajišťovací mechanismus umístěný v zasunuté poloze.
OBR. 2 (B) je boční pohled na provedení pouta zobrazující západku v zajištěné poloze a dvojitý zajišťovací mechanismus umístěný v odpojené poloze.
OBR. 2 (C) je boční pohled na provedení pouta zobrazující západku v nezajištěné poloze a dvojitý zajišťovací mechanismus umístěný v odpojené poloze.
OBR. 3 (A) je boční pohled na alternativní provedení pouta zobrazující západkový člen, který je v záběru s západkou, a dvojitý zajišťovací mechanismus umístěný v záběru, přičemž rychloupínací hřídel je otočný kolem svého spojení s západkou, aby odpojte dvojitý zajišťovací mechanismus.
OBR. 3 (B) je boční pohled na alternativní provedení pouta zobrazeného na OBR. 3 (A), přičemž západkový člen je v záběru s západkou a dvojitý zajišťovací mechanismus je uvolněn otáčením rychloupínacího hřídele.
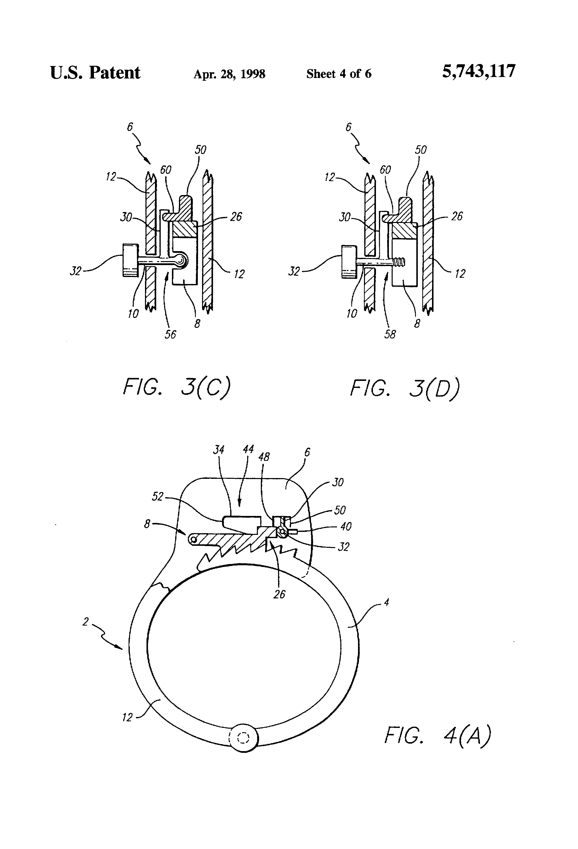
OBR. 3 (C) je částečný koncový pohled na uzamykací sestavu podle alternativního provedení zobrazeného na OBR. 3 (A), kde je rychloupínací hřídel otočně spojen se západkou prostřednictvím odnímatelného kulového a nástrčného kloubu.
OBR. 3 (D) je částečný koncový pohled na uzamykací sestavu podle alternativního provedení zobrazeného na OBR. 3 (A), kde je rychloupínací hřídel otočně spojen s západkou prostřednictvím vzájemného závitování mezi koncem hřídele a objímkou vytvořenou v západce.
OBR. 4 (A) je boční pohled na alternativní provedení pouta zobrazující západkový člen, který je v záběru s západkou, a dvojitý zajišťovací mechanismus umístěný v záběru, s rychle uvolnitelnou hřídelí otočně spojenou s boční deskou třmenu v blízkosti druhého konce západky, aby se umožnilo uvolnění dvojitého zajišťovacího mechanismu a odblokování pout jediným otočným pohybem hřídele.
OBR. 4 (B) je boční pohled na alternativní provedení pouta zobrazeného na OBR. 4 (A), přičemž západkový člen je v záběru s západkou a dvojitý zajišťovací mechanismus umístěný v odpojené poloze.
OBR. 4 (C) je boční pohled na alternativní provedení pouta zobrazeného na OBR. 4 (A), s rohatkovým členem odpojeným od západky a dvojitým zajišťovacím mechanismem také umístěným v odpojené poloze.
OBR. 5 (A) je boční pohled na další provedení pouta zobrazující jak rychloupínací hřídel, dvojitou zajišťovací hřídel, tak odpovídající knoflíky na každém konci.
OBR. 5 (B) znázorňuje pohled v řezu na pouta linií A' - A'.
OBR. 5 (C) znázorňuje pohled v řezu na pouta linií B' - B'.
Předkládaný vynález poskytuje poutko s rychlým uvolňováním, které má převažující prostředky pro umožnění dvojího použití jako tréninkového zařízení a zadržovacího zařízení. V následujícím popisu jsou za účelem vysvětlení a ne omezení uvedeny konkrétní podrobnosti, jako jsou výhodné struktury a prvky, konkrétní rozměry, specifické techniky atd., Aby bylo zajištěno důkladné pochopení předkládaného vynálezu. Odborníkovi v oboru však bude zřejmé, že předkládaný vynález může být praktikován v jiných provedeních a bez všech specifických podrobností uvedených dále. V jiných případech nejsou dobře známé rysy a použití uvedeny podrobně, aby se zabránilo zbytečnému zakrytí předloženého vynálezu.
Jak je znázorněno na OBR. 1 (A) a 1 (B), rychloupínací pouta podle tohoto vynálezu obsahuje třmen 2 mající paralelní boční desky 12 probíhající mezi prvním a druhým koncem 14, 16 třmenu 2 a obloukový rohatkový člen 4 mající blízký konec 18 otočně spojený s prvním koncem 14 třmenu 2, aby se umožnil průchod distálního konce 20 rohatkového členu 4 mezi rovnoběžnými bočními deskami 12. Na druhém konci 16 třmenu 2 je poskytnuta uzavřená zajišťovací sestava 6 uvnitř bočních desek 12 třmenu 2. Jak je znázorněno na každém z OBR. 2-4, zajišťovací sestava 6 obecně obsahuje západku 8 mající první konec 22 otočně spojený s třmenem 2 a druhý konec 24 uzpůsobený zuby pro záběr se zuby západkového členu 4. Druhý konec 24 západky 8 je otočný mezi zajištěnou polohou, kde jsou zuby západky 8 v záběru se zuby západkového členu 4, a nezajištěnou polohou, kde je západka 8 zcela odpojena od západkového členu 4. Druhý konec 24 západky 8 je předpjatý do záběru s rohatkovým členem 4 pomocí pružinového členu 34 aplikovaného na horní povrch západky 8.
Při umístění pouta na zápěstí podezřelého se distální konec 20 rohatkového prvku 4 otočí proti směru hodinových ručiček kolem předloktí a vloží se do zajišťovací sestavy 6, kde zuby západky 8 a rohatkového prvku 4 zabírají pro zajištění rohatkového prvku 4 uvnitř třmenu 2. Pro odemčení pouta bez použití rychloupínáku se západka 8 uvolní z rohatkového prvku 4 pomocí klíče 36 zasunutého klíčovou dírkou 42 vytvořenou v boční desce 12 třmenu 2. Na distálním konci 20 klíče 36 je vytvořena příruba 40 pro záběr s vertikálním osazením 26 vytvořeným na druhém konci 24 západky 8 při otáčení klíče 36 ve směru hodinových ručiček. klíč 36 zvedne vertikální osazení 26 nahoru, aby se zvedla západka 8 ze zubů rohatkového členu 4 proti předpínací síle pružinového členu 34.
K přeměně výše popsaného pouta na tréninkové zařízení poskytuje tento vynález mechanismus pro rychlé uvolnění obsahující hřídel 10 připevněný k boční ploše západky 8 na svém druhém konci 24, s výhodou v obecně kolmé orientaci k boční ploše . Jak je znázorněno na OBR. 1 (A) a 2 (A), distální konec 20 dříku 10 vyčnívá skrz vertikální štěrbinu (není zobrazena) vytvořenou v příslušné boční desce 12 třmenu 2 a je k ní připojen kruhový knoflík 32 mající větší průměr než délka slotu. S touto modifikací může účastník odpojit západku 8 od rohatkového členu 4 bez použití klíče 36 posunutím knoflíku 32 a hřídele 10 nahoru podél štěrbiny. Ve výhodném provedení (znázorněném na OBR. 1 (A)) je druhá hřídel 10 dále připojena k protilehlé boční ploše západky 8 a obsahuje distální konec vyčnívající skrz druhou štěrbinu vytvořenou v boční desce 12 s knoflíkem 32 k němu připojených. Pomocí tohoto provedení může praktikant rychle odemknout pouta manipulací s kterýmkoli z knoflíků 32 bez ohledu na orientaci pouta, když je umístěn na předloktí jiného praktikanta.
S implementací rychloupínacího mechanismu je pouta podle předkládaného vynálezu vhodná pro praktikování technik pout, protože si zachovává funkčnost a konstrukční vlastnosti běžných pout, ale umožňuje pouta odejmout jedním jednoduchým pohybem prstů.
Jednu z nejnebezpečnějších částí zadržení podezřelého - tedy pouta podezřelého - lze nyní opakovaně procvičovat několikrát za krátkou dobu, aby bylo zajištěno, že každý policista má požadovanou odbornost.
Aby se však pouta stala nákladově efektivní a všestrannější, předkládaný vynález dále poskytuje poutka s rychlým uvolňováním určené pro použití jak při tréninku, tak při skutečném použití na ulici. Toho je dosaženo zajištěním dvojitého zajišťovacího mechanismu ve formě dorazového prvku 44 umístěného nad západkou 8, jak je znázorněno na OBR. 2-4. Jak je znázorněno na OBR. 2-3, dorazový člen 44 může mít formu jednoduché, podlouhlé tyče 46, avšak v alternativním provedení tvoří dorazový člen 44 prodlouženou část pružinového členu 34 použitého k předpětí západky 8 proti rohatkovému členu 4 jak je znázorněno na OBR. 4 (A), 4 (B), 4 (C) a 5.
Zarážkový člen 44 obsahuje směrem dolů procházející ramenní část 48, výhodně umístěnou v blízkosti středu zarážkového členu 44 a v blízkosti vybrání vytvořeného v horní ploše druhého konce 24 západky 8. Zarážkový člen 44 dále obsahuje první a druhé dolů směřující příruby 50, 52 umístěné na příslušných koncích zarážkového členu 44, přičemž první příruba 50 je umístěna v blízkosti druhého konce 24 západky 8 a příruby 40 klíče 36, když je zasunuta. Ve výhodném provedení je zarážkový člen 44 pohyblivý v obecně vodorovném směru (nebo rovnoběžně s západkou 8) působením síly na kteroukoli přírubu 40 pro pohyb ramenní části 48 dovnitř a ven z kontaktu s horním povrchem západka 8. Když je v kontaktu se západkou 8, dorazový člen 44 působí tak, že udržuje záběr mezi západkou 8 a rohatkovým členem 4 navzdory pohybu rychloupínacího hřídele 10 nebo otáčení klíče 36.
V alternativním provedení, znázorněném na OBR. 2 (A), 2 (B) a 2 (C), dvojitý zajišťovací mechanismus je v záběru posunutím dorazového členu 44 zleva doprava, aby se ramenní část 48 posunula nad vybrání západky 8 do kontaktní polohy s horním povrchem západky 8. Mechanismus se poté uvolní pohybem zarážkového členu 44 v opačném směru. S odkazem na OBR. 1 (A) a 2 (A) je mechanismus přednostně v záběru vložením a pohybem tupého nástavce 38 klíče 36 do vodorovné štěrbiny vytvořené v boční desce 12 třmenu 2 v záběru s druhou přírubou 52 zarážky člen 44. Mechanismus je přednostně odpojen otáčením příruby 40 klíče 36 uvnitř uzamykací sestavy 6 ve směru proti směru hodinových ručiček ve spojení s první přírubou 50 zarážkového členu 44. Mělo by však být zřejmé, že jiné prostředky pro pohyb dorazového členu 44 lze navrhnout například vložením tupého nástavce 38 klíče 36 do štěrbiny 28 vytvořené v boční desce 12 (nebo mezi bočními deskami 12) napravo od první příruby 50, aby se pohyboval zarážkový člen 44 mimo kontakt se západkou 8 a otáčením klíče 36 ve směru hodinových ručiček zabírají s první přírubou 50 a pohybují zarážkový člen 44 do kontaktu se západkou 8.
Díky této konstrukci je rychloupínací pouta nyní vhodná pro skutečné použití policisty v terénu. Když je podezřelý zadržen, je pouta připevněna k předloktí podezřelého 39 vložením rohatkového členu 4 do třmenu 2 a pomocí zadku 38 klíče 36 k zasunutí druhé příruby 52 dorazového členu 44 a přesuňte zarážkový člen 44 do kontaktu se západkou 8 (obr. 2 (A)). V této poloze s dvojitým zajištěním je podezřelému zabráněno v odemknutí pouta pohybem knoflíku 32 rychloupínacího hřídele 10, protože s ním lze pohybovat pouze po uvolnění dvojitého zajišťovacího mechanismu zasunutím a otočením klíče 36 v proti směru hodinových ručiček (obr. 2 (B)). Pouta lze poté odemknout buď otočením klíče 36 ve směru hodinových ručiček, nebo jednoduše zatažením za knoflík 32 rychloupínací hřídele 10 (obr. 2 (C)).
Podle alternativního provedení zobrazeného na OBR. 3 (A) a 3 (B) je pouta podle předloženého vynálezu opatřena rychloupínacím hřídelem 10 otočně spojeným se západkou 8 na svém druhém konci 24. Otočný hřídel 10 obsahuje boční přírubu nebo výstupek 30 umístěný v blízkosti k jeho připojení k západce 8 pro záběr s bočním výčnělkem 60 vytvořeným na ramenní části 48 dorazového členu 44. Tímto způsobem lze dvojitý zajišťovací mechanismus uvolnit bez nutnosti klíče 36 otáčením knoflíku 32 hřídel 10 ve směru proti směru hodinových ručiček, aby zapadl do bočního výstupku 30 s bočním výčnělkem 60 a posunul ramenní část 48 mimo kontakt s západkou 8. Poté, aby uživatel odjistil pouta, stačí zvednout knoflík 32 rychloupínací hřídel 10 nahoru, aby se uvolnila západka 8 od západkového členu 4.
Kromě toho je v tomto provedení zachována dvojí funkčnost pouta zajištěním uvolňovacího mechanismu, který odpojuje rychle uvolnitelný hřídel 10 od jeho rotačního spojení s západkou 8 tak, že knoflík 32, hřídel 10 a boční výstupek 30 hřídele 10 lze z pout vyjmout, pokud je potřeba převést pouta pro skutečné použití. Uvolňovací mechanismus může zahrnovat odnímatelný (a pružný) kulový a objímkový kloub 56, přičemž koule je připevněna na konec hřídele 10 a objímka je vytvořena v boční ploše západky 8 (obr. 3 (C)) k umožnit otáčení hřídele 10 po zasunutí jeho konce do objímky. Alternativně může uvolňovací mechanismus zahrnovat opatření závitů 58 na konci hřídele 10 a závitové hrdlo vytvořené na boční ploše západky 8 (obr. 3 (D)) tak, že otáčení hřídele proti směru hodinových ručiček 10 působí na odpojení dvojitého zajišťovacího mechanismu, zatímco otáčení hřídele 10 ve směru hodinových ručiček (když je ramenní část 48 vytažena z kontaktu se západkou 8) působí na odšroubování hřídele 10 ze západky 8. Kromě toho je rychloupínací hřídel 10 může být odnímatelný úplným zasunutím přes západku 8 a obě boční desky 12 třmenu 2 a jeho zajištěním na místě připojením knoflíku 32 ke každému konci hřídele 10 pomocí závitů nebo kulových a vnitřních kloubů. U této konstrukce je hřídel 10 odstraněn odpojením jednoho z knoflíků 32 a vytažením hřídele 10 ze zaváděcího otvoru. Aby bylo toto provedení zdokonaleno pro skutečné použití, je výhodné opatřit štěrbinu vytvořenou v boční desce 12 třmenu 2, a tudíž připojení hřídele 10 k západce 8, co nejvíce vlevo od ramenní části 48 dorazový člen 44, jak je to možné (při kontaktu se západkou 8), aby se zabránilo podezřelému uvolnit dvojitý zajišťovací mechanismus pohybem ramenní části 48 doleva pomocí nástroje.
V provedení předkládaného vynálezu, které nezahrnuje dorazový člen 44, může být dřík 10 namísto kolmého k rovině pouta v rovině pouta. Například hřídel 10, který je spojen se západkou 8, se může rozprostírat svisle nahoru od západky 8 a vybíhat z horní části druhého konce části bankovky. V tomto provedení lze uvolnitželízka(tj. způsobí uvolnění západky 8 od rohatkového členu 4) zatažením za hřídel 10 obecně směrem nahoru. Připojení hřídele k západce může být prostřednictvím kulového a vnitřního kloubu nebo prostřednictvím zajišťovacích závitů (např. Šroub s okem), jak bylo popsáno výše s ohledem na OBR. 3C a 3D.
Dále v provedení se zarážkovým členem 44, který působí tak, že udržuje záběr mezi západkou 8 a rohatkovým členem 4 navzdory pohybu rychloupínací hřídele 10 nebo otáčení klíče 36, může být hřídel spojena se zarážkovým členem 44 pro zachycení a uvolnění zarážkového členu 44. Hřídel může být připojen k zarážkovému členu 44 horní částí druhého konce třmenu (tj. Podél imaginární svislé čáry vedené druhým koncem třmenu). Toto spojení může být provedeno pomocí závitů nebo kulového kloubu. Uživatelželízkamůže zapadnout do zarážkového členu 44 pohybem hřídele obecně vertikálním směrem dolů a uvolnit zarážkový člen 44 pohybem hřídele obecně vertikálním směrem nahoru. Převést školeníželízkado skutečného zadržovacího zařízení je tento hřídel, který je odnímatelně spojen s dorazovým členem 44, kterým je v tomto provedení tyč, odstraněn, takže podezřelý nemůže uvolnit dorazový člen 44 bez klíče.
V souladu s dalším alternativním provedením předkládaného vynálezu znázorněným na OBR. 4 (A), 4 (B) a 4 (C) je rychloupínací hřídel 10 otočně spojen buď s boční deskou 12 třmenu 2, nebo se stacionárním členem (není zobrazen) uvnitř zajišťovací sestavy 6 namísto je spojen se samotnou západkou. Hřídel 10 opět obsahuje boční výstupek 30 v blízkosti spojky uzpůsobený pro záběr jak s první přírubou 50 dorazového členu 44, tak se svislým osazením 26 západky 8, aby bylo možné dvojitý zajišťovací mechanismus odpojit aželízkaodblokováno pomocí jediné rotace hřídele 10 ve směru hodinových ručiček. Aby toho bylo dosaženo, postranní výstupek 30 sahá do polohy mezi ramenovou částí 48 a první přírubou 50 zarážkového členu 44 (když je ramenní část 48 v kontaktu se západkou 8), takže při otáčení ve směru hodinových ručiček boční výstupek 30 posune ramenní část 48 (doprava) z horního povrchu západky 8 a dále zvedne vertikální rameno 26 západky 8 nahoru. V tomto provedení je hřídel 10 spojen s třmenem 2 nebo stacionárním členem tak, že je soustředný s klíčovou dírkou 42 vytvořenou na opačné straně třmenu 2. Tímto způsobem jak boční prodloužení hřídele 10, tak příruby 40 klíče 36 nedochází ke kontaktu, ale jsou umístěny pro záběr s první přírubou 50 zarážkového členu 44 a svislým osazením 26 západky 8. Dále může být v tomto provedení spojení hřídele 10 se západkou 8 v tomto provedení. dále přizpůsobeno uvolňovacím mechanismem, jak je popsáno výše, aby bylo možné dvojí použitíželízka.
Nyní s odkazem na OBR. 5 (A) je znázorněn boční pohled na další provedení předkládaného vynálezu. Zarážkový člen 44 je v tomto provedení podlouhlý pás kovu. Zarážkový člen 44 funguje jako dvojitý zajišťovací mechanismus, který lze uvést do zajištěné polohy, kde zarážkový člen 44 zabraňuje uvolnění západky 8 ze zubů západkového členu 4 (není zobrazen). Když je dorazový člen 44 v odemčené poloze, západka 8 může být uvolněna ze zubů rohatkového členu 4 pomocí rychloupínací hřídele 10 nebo pomocí klíče 36 (není zobrazen). V tomto konkrétním provedení působí dorazový člen 44 jednak jako dvojitý zajišťovací mechanismus, jednak jako pružina, která předpíná západku 8 směrem k obloukovitě rohatkovému členu 4. Zarážkový člen 44 může zahrnovat integrální podlouhlý kovový pás, jak je znázorněno na OBR. 5 (A), nebo může být plným členem, jak je znázorněno na OBR. 2 (A) -2 (C).
V případě, že dorazovým členem 44 je pevný člen, se pružina 34 stává samostatným prvkem a již není integrální s dorazovým členem 44 (např. OBR. 2 (A) -2 (C), prvek 34). Použití samostatné pružiny 34 k předepnutí západky 8 proti obloukovitému členu 4 je jasně znázorněno na OBR. 2 (A) -2 (C).
OBR. 5 (A) také ilustruje rychloupínací hřídel 10, která je spojena s knoflíkem 32. Jak již bylo zmíněno výše, posunutí knoflíku 32, spojeného s rychloupínací hřídelí 10, uvolňuje západku 8 od zubů obloukovité rohatky člen 4 (viz OBR. 3 (C) a 3 (D)), když je dorazový člen 44 v odemčené poloze. V tomto provedení je rychloupínací hřídel 10 spojen přímo s západkou 8.
S odvoláním na OBR. 5 (A), dorazový člen 44 obsahuje dolů probíhající ramenní část 48, která zabírá s horním povrchem západky 8 v poloze dvojitého uzamčení a není spojena se západkou 8 v odemčené poloze. Zarážkový člen 44 dále obsahuje první a druhou dolů probíhající příruby 50, 52 umístěné na příslušných koncích zarážkového členu 44, kde je první příruba 50 umístěna v blízkosti druhého konce 24 západky 8 a příruby 40 klíče 36, když zasunutá a druhá příruba 52 je umístěna v blízkosti vodorovné štěrbiny 62. Jak již bylo zmíněno výše, dorazový člen 44 je pohyblivý v obecně vodorovném směru působením síly na druhou přírubu 52 pro pohyb ramenní části 48 dovnitř a ven z kontaktu s horním povrchem západky 8. Při kontaktu se západkou působí dorazový člen 44 tak, aby udržoval záběr mezi západkou 8 a západkovým členem 4 (není zobrazen), a to navzdory pohybu rychloupínacího hřídele 10 nebo otáčení klíč 36.
V tomto provedení je dvojitý zajišťovací mechanismus v záběru pohybem dorazového členu 44 druhým hřídelem 60, spojeným s druhou přírubou 52 dorazového členu 44. Pohybem druhého hřídele 60 v obecně vodorovném směru je dorazový člen 44 který je odnímatelně spojen s druhým hřídelem 60 na druhé přírubě 52, zabírá s západkou 8. Tento dvojitý zajišťovací mechanismus může být také v záběru zasunutím a posunutím zadku 38 klíče 36 horizontální drážkou 62, která je vytvořena na boku deska 12 třmenu 2, do styku s druhou přírubou 52 dorazového členu 44.
Druhá hřídel 60 prochází vodorovnou drážkou 62 vytvořenou v boční desce 12 třmenu 2. Dále tento druhý hřídel 60 prochází oběma bočními deskami 12 třmenu 2 a zabírá s druhou přírubou 52 zarážkového členu 44. Druhá hřídel 60 je zajištěn na místě připojením prvního knoflíku 64 k jednomu konci druhého hřídele 60 a druhého knoflíku 65 k druhému konci druhého hřídele 60. První a druhý knoflík 64, 65 mohou být připevněny k druhému hřídeli 60 mnoha způsoby (např. Pomocí závitů nebo kulového kloubu). U této konstrukce je druhý hřídel 60 odstraněn odpojením jednoho z knoflíků 64, 65 a vytažením druhého hřídele 60 z vodorovné štěrbiny 62.
OBR. 5 (B) znázorňuje pohled v řezu naželízkalinkou A' - A'. OBR. 5 (B) zobrazuje první hřídel 10 mající první knoflík 32 umístěný na jednom konci a druhý knoflík 33 umístěný na opačném konci. První hřídel 10 prochází západkou 8 a dvěma bočními deskami 12. Obr. 5 (B) také zobrazuje druhý hřídel 60 (např. Dělený hřídel) mající první knoflík 64, umístěný na jednom konci, a druhý knoflík 65 umístěný na opačném konci. Když je druhým hřídelem 60 dělený hřídel, druhý hřídel 60 zabírá s oběma stranami druhé příruby 52 dorazového členu 44, jak je znázorněno.
OBR. 5 (C) znázorňuje řez částíželízkalinkou B' - B'.
OBR. 5 (C) zobrazuje první hřídel 10 mající první knoflík 32 na jednom konci a druhý knoflík 33 na opačném konci. Hřídel 10 prochází západkovým dílem 8 a také prochází bočními deskami 12. Je také zobrazen druhý hřídel 60, který má první knoflík 64 a druhý knoflík 65 na opačných koncích. Druhá hřídel 60 prochází bočními deskami 12 a zabírá s dorazovým členem 44.
Je třeba poznamenat, že ačkoliv byl předložený vynález popsán z hlediska preferovaných a alternativních provedení, bude oceněno, že mohou být provedeny různé modifikace a úpravy pro zlepšení fungováníželízkaodborníky v oboru bez odchýlení se od ducha a rozsahu vynálezu. Vynález by proto měl být měřen ve smyslu následujících nároků.
Některé doporučené položky pro vaši referenci :
https://www.senkencorp.com/search/handcuff.html
https://senken.en.alibaba.com/search/product?SearchText=handcuff
Pouta Video:
https://www.youtube.com/watch?v=59rcOB1g1ms
https://www.youtube.com/watch?v=tt1FHbiJ4R0
https://www.youtube.com/watch?v=WBOlplSF7ps
Mohlo by se Vám také líbit
-

Nové příchody Secure Gears Skrytá americká NIJ Standardní...
-

Super Slim policejní a dopravní nouzové světlo řady Senke...
-

Pohodlná bezpečnostní vojenská pomůcka Přestavitelná nepř...
-

GB13954-2009 Standardní IP65 Gen3 LED Beacon LTE905 / LTD905
-

Více možností barvy Slope a proplachovací svítidlo LED sv...
-

100W kompaktní slimline černá policejní siréna reprodukto...








